Skip to main content
Device Type:misc
Electrical Standard:global
Board:esp32

M5Stack Fire

Product Images

M5Stack Fire

Description

M5Stack FIRE Kit features an ESP32 Core, 16M Flash + 8M PSRAM, 9-Axis IMU sensor (6-Axis posture acceleration measurement + 3-Axis magnetic measurement), power management IC, speaker, microphone, and a 2 inch 320x240 LCD screen. The middle part is called M5GO base which provides a 500 mAh battery, M-BUS socket, LED bar and three more GROVE Ports. The bottom part is a charge table, which can be connected to the M5GO base via POGO pins.

GPIO Pinout

PinFunction
GPIO39Button A
GPIO38Button B
GPIO37Button C
GPIO34Microphone Pin
GPIO25Speaker Pin 1
GPIO26Speaker Pin 2
GPIO22GROVE A SCL
GPIO21GROVE A SDA
GPIO36GROVE B SCL
GPIO26GROVE B SDA
GPIO16GROVE C RXD
GPIO17GROVE C TXD
GPIO15SIG Pin

MBus Pin Map

Pin Map

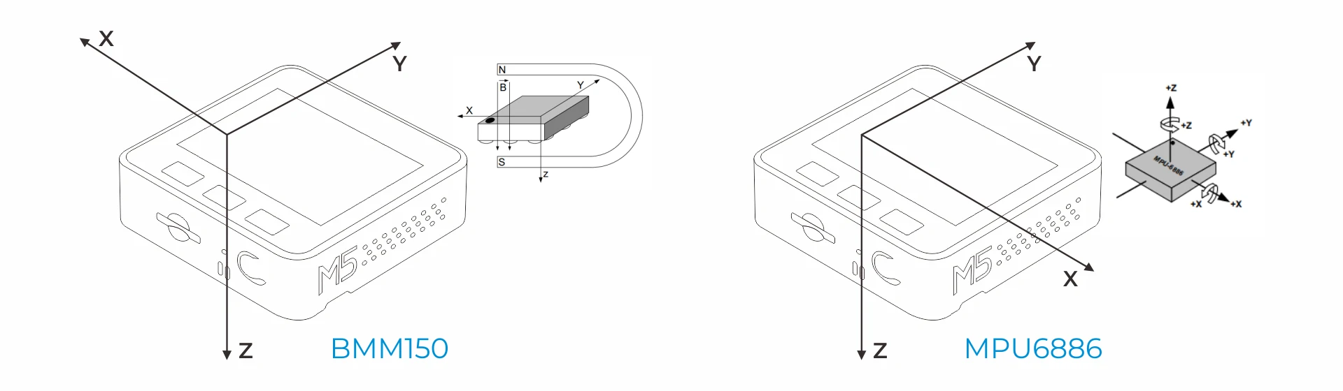
MPU6886 and BMM150

MPU6886 BMM150

I2C AddressFunction
0x68MPU6886 6-Axis MotionTracking Sensor
0x10BMM150 3-Axis Geomagnetic Sensor

IP5306 Power Management

M5Stack Fire uses a customized version of the IP5306 Power Management circuit Customized IP5306 Datasheet

I2C AddressFunction
0x75IP5306 Power Management

IP5306 Example Configuration

external_components:
- source:
type: git
url: https://github.com/ssieb/custom_components
components: [ip5306]

ip5306:
battery_level:
name: Battery Level
charger_connected:
id: connected
charge_full:
id: full

Using the IP5306 ESPHome Component by @ssieb

Wifi Issues due to GPIO15

When the M5GO bottom is attached, GPIO15 (side lights pin) needs to be setup as an output pin, otherwise Wifi will fail to connect frequently. If you do not want to setup the side lights component (to save memory, for example), you can use the following alternative instead:

output:
- platform: gpio
id: wifi_fix_output
pin: GPIO15

Source: Official M5Stack repo.

Example Configuration

substitutions:
friendly_name: "M5StackFire"

esphome:
name: m5stackfire

esp32:
variant: esp32

wifi:
ssid: !secret wifi_ssid
password: !secret wifi_password

ap:
ssid: ${friendly_name} Fallback Hotspot
password: !secret wifi_password

captive_portal:

logger:

api:

ota:

# Power Management
external_components:
- source:
type: git
url: https://github.com/ssieb/custom_components
components: [ip5306]

i2c:
sda: 21
scl: 22
scan: True

ip5306:
battery_level:
name: ${friendly_name} Battery Percent
id: battery_percent
charger_connected:
name: ${friendly_name} Charger Connected
id: connected
charge_full:
name: ${friendly_name} Charge Full
id: full

# Buttons
binary_sensor:
- platform: gpio
id: M5_BtnA
pin:
number: 39
inverted: true
- platform: gpio
id: M5_BtnB
pin:
number: 38
inverted: true
- platform: gpio
id: M5_BtnC
pin:
number: 37
inverted: true

# Internal LEDS
output:
- platform: ledc # backlight output
pin: 32
id: gpio_32_backlight_pwm

light:
- platform: monochromatic # backlight
output: gpio_32_backlight_pwm
name: ${friendly_name} Backlight
id: backlight
restore_mode: ALWAYS_ON
- platform: esp32_rmt_led_strip
rgb_order: GRB
pin: GPIO15
num_leds: 10
rmt_channel: 1
chipset: SK6812
name: "${friendly_name} Side Light"
restore_mode: ALWAYS_OFF
id: side_light
default_transition_length: 0s

# Deep Sleep
deep_sleep:
id: deep_sleep_
wakeup_pin: 39
wakeup_pin_mode: INVERT_WAKEUP

# Microphone and Speaker
i2s_audio:
i2s_lrclk_pin: GPIO13

microphone:
- platform: i2s_audio
adc_pin: GPIO34
adc_type: internal
id: adc_mic

media_player:
- platform: i2s_audio
name: "${friendly_name} Internal Media Player"
id: media_player_out
dac_type: internal
mode: right

# Display
spi:
clk_pin: 18
mosi_pin: 23
miso_pin: 19

font:
- file: "gfonts://Roboto"
id: roboto
size: 20

display:
- platform: ili9xxx
model: M5STACK
cs_pin: 14
dc_pin: 27
reset_pin: 33
id: my_display
lambda: |-
it.print(80, 0, id(roboto), Color(255, 255, 255), TextAlign::TOP_CENTER, "M5Stack Fire Test");